Previous Next

BRAKE PEDAL

  1. Measure the distance (height) from the top surface of the floor, not including the carpet, to the top surface of the brake pedal. Correct distance is:
  2. If the pedal height is not correct, move the brake light switch out of contact with the pedal arm.
  3. Loosen the lock nut on the pedal rod. Use pliers to turn the pedal rod, either lengthening it or shortening it, until the correct pedal height is obtained.
  4. Tighten the locknut. Reposition the brake light switch so that the distance between the outer case of the switch and the pedal is 0.019–0.039 in. (0.5–1.0mm). Note that the switch tab or prong must press against the pedal to keep the brake lights off.

    Fig. 1: The brake pedal operating components — measure the distance from the pedal to the floor (A)

    Fig. 2: Use a pair of pliers to adjust the brake pedal operating rod to adjust measurement (A) to the standard specifications

    Fig. 3: Adjust the brake light switch so that there is 0.019–0.039 in. (0.5–1.0mm) between the outer case and the brake pedal

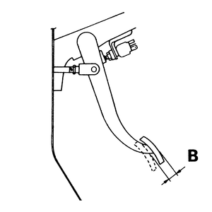
    Fig. 4: Measure the distance (B) between the pedal resting position and the point when resistance is felt

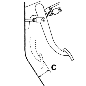
    Fig. 5: Measure distance (C) after depressing the brake pedal with approximately 110 lbs. (500 N) of force while the engine is running

  5. Tighten the locknut on the brake light switch.
  6. Check the free-play in the pedal. With the engine off, depress the brake pedal fully several times. Then check the movement in the pedal before any resistance is encountered. Correct free-play is:
  7. If there is no free-play in the pedal, check the adjustment of the brake light switch. If there is excessive free-play, look for wear or play in the clevis pin and brake pedal arm.
  8. Start the engine, depress the brake pedal with approximately 110 lbs. (500 N) of force, and measure the clearance between the brake pedal and the firewall.
  9. If the clearance is less than the standard value, check for air in the brake line or brake fluid leakage, and check the brakes themselves (for excessive shoe clearance caused by a malfunction of the automatic adjuster mechanism), and repair where necessary.

Previous Next