Previous Next

Piston and Ring

POSITIONING

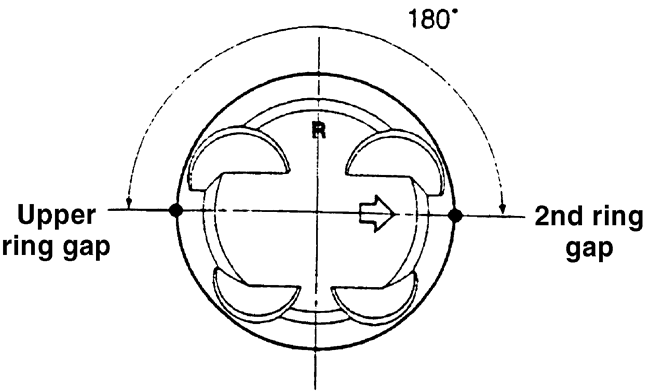
Fig. 1: Compression ring end-gap spacing — 2.5L engine

Fig. 2: Upper, spacer and lower oil ring end-gap spacing — 2.5L engine

Fig. 3: Piston and connecting rod assembly positioning — 2.5L engine

Previous Next