Previous Next

Removal & Installation

Timing Belt – 2.5L SOHC Engine

Timing Belt – 2.0L DOHC Engine

Timing Belt – 2.5L DOHC Engine

Timing Belt Legend – 2.5L DOHC Engine

2.0L DOHC Engine and 2.5L DOHC Engine

To Remove:

  1. Before servicing the vehicle, refer to the precautions at the beginning of this section.
  2. Remove or disconnect the following:

    Note: If the alignment mark and/or arrow mark (indicateing rotation direction) on the timing belt are worn and not legible, add new marks before removing the timing belt as follows:

    Note: Z1: 54.5 tooth length, Z2: 51 tooth length, Z3: 28 tooth length

    CAUTION
    To avoid damaging the valve stems, after the timing belt has been removed, never rotate the intake and exhaust, camshaft sprockets.

  3. Belt Idler / Automatic Belt Tensioner
    1. Remove the belt idler (2) and (3)

    2. Remove the belt idler #2
    3. Remove the automatic belt tension adjuster assembly

To Install:

  1. Belt Idler / Automatic Belt Tensioner

    CAUTION
    Always use a vertical type pressing tool to apply pressure and move the adjuster rod down.

    1. Push the adjuster rod vertically, Do not use a lateral vise
    2. Be sure to slowly move the adjuster rod down applying a pressure of 30 kgf, 66 lbs.(294 N)
    3. Press-in the push adjuster rod gradually taking more than three minutes.
    4. Do not allow press pressure to exceed 1,000 kgf, 2,205 lbs. (9,807 N)
    5. Press the adjuster rod as far as the end surface of the cylinder
    6. Do not press the adjuster rod in so far as the end of the cylinder, (damage to the cylinder could result)
    7. Do not release the press pressure until stopper pin is completely inserted
    8. Attach the automatic belt tension adjuster assembly to the vertical pressing tool
    9. Slowly move the adjuster rod down with a pressure of 30 kgf, 66 lbs. (294 N) until the adjuster rod is in alignement with the stopper pin hole in the cylinder

    10. Using a 0.08 inch (2 mm) diameter stopper pin or a 0.08 inch (2 mm) (nominal) diameter hex bar wrench inserted into the stopper pin hole in the cylinder, secure the adjuster rod

    11. Install the automatic belt tension adjuster assembly
    12. Torque to: 18 ft.lbf (25 Nm)
    13. Install the belt idler #2
    14. Torque to: 29 ft. lbs. (39 Nm)
    15. Install the belt idler
    16. Torque to: 29 ft. lbs. (39 Nm)

  2. Align mark (1) on the crankshaft sprocket with mark on the oil pump cover at cylinder block.

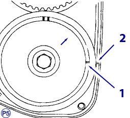
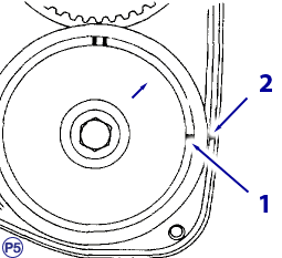
  3. Align single line mark (1) on the exhaust camshaft sprocket (RH) with notch (2) on timing belt cover.

  4. Align single line mark (1) on the intake camshaft sprocket (RH) with notch (2) on timing belt cover.
  5. Make sure double lines (3) on intake camshaft and exhaust camshaft sprockets are aligned.

  6. Align single line mark (1) on exhaust camshaft sprocket (LH) with the notch (2) on the timing belt cover by turning the sprocket counterclockwise (as viewed from the front of the engine).

  7. Align the single line mark (1) on intake camshaft sprocket (LH) with notch (2) on timing belt cover by turning the sprocket clockwise (as viewed from the front of the engine). Ensure the double lines (3) on the intake and exhaust camshaft sprockets are in alignment
  8. Ensure the camshaft and crankshaft sprockets are positioned correctly

    CAUTION
    Intake and exhaust camshafts for the DOHC engine can be independently rotated with the timing belts removed. If the intake and exhaust valves are raised simultaneously, there will interference of the valve heads, resulting in damage, (bent valves).

    Note: With the timing belts removed, all four camshafts are held in the "zero-lift" position, in this position all cams on the camshafts do not push on the intake and exhaust valves. In this condition, all valves remain seated, (unlifted).

    When the camshafts are rotated to install the timing belts, #2 intake and #4 exhaust cam of camshafts (LH) are held to push their corresponding valves down. (Under this condition, these valves are held lifted.) Camshafts (RH) are held so that their cams do not push the valves down. The (LH) camshafts must be rotated from the "zero-lift" position to the position where the timing belt is to be installed at as small an angle as possible, in order to prevent an interference condition of the intake and exhaust valve heads.

    CAUTION
    Do not allow the camshafts to rotate in the direction shown in the illustration as this will cause both intake and exhaust valves to lift simultaneously, resulting in an interference condition of the intake and exhaust valve heads, resulting in damage, (bent valves).

    Note: It is recommended that the crankshaft seal be replaced when performing this repair procedure.

  9. Align the alignment mark on the timing belt with the marks on the sprockets in the order shown in the figure. Ensure, while aligning marks, position the timing belt properly.

    CAUTION
    Disengagement of more than three timing belt teeth may result in interference between the valve and piston and damage to the engine.

  10. Install the belt idlers.

  11. Remove the stopper pin from tensioner adjuster
  12. Install the timing belt guide (M/T models) and temporarily tighten the bolts.

  13. Check and adjust the clearance between timing belt and timing belt guide.
  14. Tighten the bolts
  15. Install or connect the following:
2.5L SOHC Engine

To Remove:

  1. Before servicing the vehicle, refer to the precautions at the beginning of this section.
  2. Remove or disconnect the following:

    Note: If the alignment mark and/or arrow mark (which indicates rotation direction) on timing belt are not legible, it is very important you re-mark the belt before removing the timing belt.

  3. Turn the crankshaft.
  4. Align the mark (1) of sprocket to cylinder block notch (b) and ensure the right side cam sprocket mark (3), cam cap and cylinder head matching surface (4) and/or left side cam sprocket mark (5) and belt cover notch (6) are properly adjusted.

  5. Put alignment and/or arrow marks on the timing belts in relation to crankshaft sprocket and camshaft sprockets.

    A, 44 tooth length, B, 40,5 tooth length

    Note: Refer to the illustration; A, 44 tooth length, B, 40,5 tooth length.

  6. Remove or disconnect the following:

To Install:

Note: The timing belt, belt tension pulley, belt idler and automatic belt tensioner should be inspected thoroughly for cracks, wear, leaks, rough rotation, and excessive noise. If any component is found to be excessively worn, damaged or defective it should be replaced.

  1. Belt Idler / Automatic Belt Tensioner

  2. Turn the camshaft sprocket No. 2 using ST1 18231 AA010 or ST2 499207400 camshaft sprocket wrench, and then turn the camshaft sprocket No. 1 so that their alignment marks come to the top positions.

  3. Position the timing belt while aligning alignment mark on the timing belt (2) with marks on sprockets (1).
  4. Install or connect the following:
  5. Remove the stopper pin from belt tension adjuster.

  6. Install the timing belt guide (M/T vehicles) and temporarily tighten the remaining bolts.
  7. Check and adjust the clearance between timing belt and timing belt guide by using a thickness gauge.
  8. Tighten the remaining bolts.
  9. Install or connect the following:

Previous Next