To Remove:
-
Disconnect or remove the following
- Ground cable from battery
- Clips and detach trunk rear trim
- Bolts and rear portion of trunk side trim
- Rear combination light assembly nuts and connector
- Rear combination light assembly
To Install:
-
Install or connect the following:
- Rear combination light assembly connector
- Rear combination light assembly with the nuts
- Trunk side trim and rear trim
- Ground cable to battery
To Remove:
-
Before servicing the vehicle, refer to the precautions at the beginning
of this section.
- Remove or disconnect the following:
- Battery ground cable
- Clips and rear combination light covers
- Two bolts and rear quarter trim
- Combination light connectors and light assembly
To Install:
-
Install or connect the following:
- Combination light connectors and assembly
- Rear quarter trim
- Combination light covers
- Battery ground cable
To Remove:
- Before servicing the vehicle, refer to the precautions
at the beginning of this section.
-
Remove or disconnect the following:
- Battery ground cable
- High-mounted brake light connectors from body
harness
- Bolts and the light assembly
To Install:
-
Install or connect the following:
- High-mounted brake like assembly with the bolts
- Light connectors
- Battery ground cable
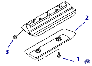
To Remove:
- Before servicing the vehicle, refer to the precautions
at the beginning of this section.
-
Remove or disconnect the following:
-
Battery ground cable
- Screws (1) and cover (2)
- Screws (3) and connectors
- High-mounted brake light
To Install:
-
Install or connect the following:
- High-mounted brake light connectors
- Screws for light
- Cover and screws
- Battery ground terminal