To Remove:
- Before servicing the vehicle, refer to the precautions at the beginning of this section.
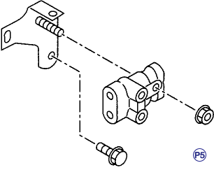
- Remove or disconnect the following:
- Brake pipe from proportioning valve at four places
- Proportioning valve from its bracket
CAUTION
Do not disassemble or adjust the proportioning valve. (The proportioning valve must be replaced as an assembly.)
To Install:
- Install or connect the following:
- Proportioning valve to bracket
- Torque to: 13 ft. lbs. (18 Nm)
- Brake pipes correctly to proportioning valve
- Torque to: 11 ft. lbs. (15 Nm)
- Bleed air, then check each joint of brake pipe for oil leaks.