Previous Next

Door Panels

REMOVAL & INSTALLATION

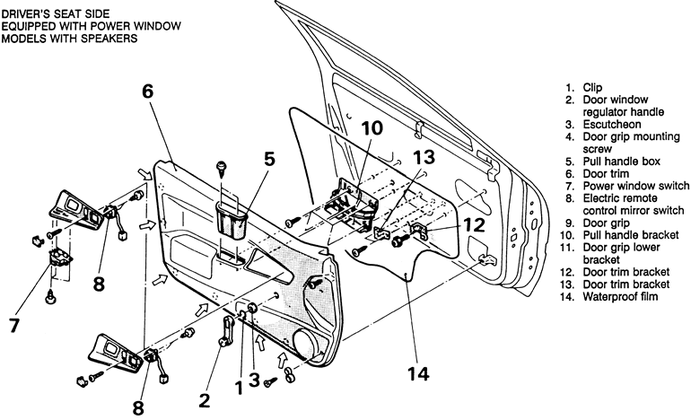
Fig. 1: Exploded view of the door trim panel and related components — 1990–94 driver's side shown

Fig. 2: Door trim panel and related components — 1995–98 vehicles

  1. Disconnect the negative battery cable.
  2. Insert a shop towel behind the window regulator handle and push the retainer clip outward. Once the clip is removed, remove the window glass regulator handle and escutcheon.

    Fig. 3: Remove the window regulator handle retainer clip using a shop towel

    Fig. 4: When removing the regulator handle (1), be careful not to lose the retaining clip (2)

  3. Remove the door grip/pull handle mounting screws and the grip from the door panel.

    Fig. 5: Remove the door pull handle retaining screw . . .

    Fig. 6: . . . then remove the pull handle from the door panel

  4. Remove the door pull handle cover. Remove the pull handle, if equipped.

    Fig. 7: Pull out on the door handle, then unfasten the screw and remove the handle cover

  5. For 1990–94 vehicles, if equipped with door mounted speakers, remove the speaker covers and the speakers from the door assembly.
  6. If equipped, unfasten the door trim panel retaining screws.

    Fig. 8: If necessary, remove any door panel retaining screws . . .

    Fig. 9: . . . then carefully pull the door trim panel away from the door. Be careful not to lose any of the retaining clips

  7. Pull the door panel gently from the door. The panel is retained by spring clips. To separate the clips from the door, slide a small prying tool behind the clip and carefully pull the clip, with the door panel, outward. Try not to bend the door panel or damage may occur.
  8. Once all retainer clips are removed from the door, remove the door panel assembly. If equipped with power windows or mirrors, remember to detach the electrical connector from the switch prior to removal.
  9. Carefully remove any retainer clips that remained in the door during panel removal. If damaged, replace the retainer clips.
  10. If necessary, on 1995–98 vehicles, remove the door speaker and speaker cover.

    Fig. 10: If necessary, you can unfasten the retainers and remove the door speakers

  11. At this time, you can remove the waterproof film from the door.

    To install:

  12. If removed, install the waterproof film from the door.
  13. On 1995–98 vehicles, if removed, install the speaker assemblies. Don't forget to connect the wiring.
  14. Install and missing or damaged retainer clips into the door panel. Attach the electrical harness connector to the electric switches on the door panel and install the door panel onto the vehicle. Push retainers into the holes in the door until they lock into position. If any clips do not lock, replace with new ones.
  15. Install the door grip onto the door panel.
  16. On 1990–94 vehicles, install the door speakers to the door panel making sure to attach harness connectors prior to installation. Install the speaker covers.
  17. Install the escutcheon and clip to the regulator handle, close the window glass fully, then install the handle so it is in the position shown in the accompanying figure.

    Fig. 11: The window regulator handle must be installed in the proper position

  18. Connect the negative battery cable.

Previous Next